塑料、导电玻璃钢电除雾器介绍
概述
电除雾器按其主材阳极管板的材料分有塑料、铅和导电玻璃钢三种电除雾器。近年来,铅制阳极管板不断被塑料或导电玻璃钢所替代,具有质轻、价低,综合性能突出等优点,我公司可按用户需求,设计配套塑料或导电玻璃钢两种电除雾器。
电除雾器主要处理气量、总压力降和出口酸雾等指标,由此进行设计计算,确定其规格型号和串并方式。我公司可免费为用户进行设计,确定工艺参数。供货为全套供货,包括设备本体及配套部件恒温绝缘箱、高压整流机组、控制柜、安全水封等。应用业绩有葫芦岛锌厂、水城正鑫锌业、大冶有色、云南祥云、腾冲衡丰、沧源锌业公司和灵宝博源矿业等。
结构与材质
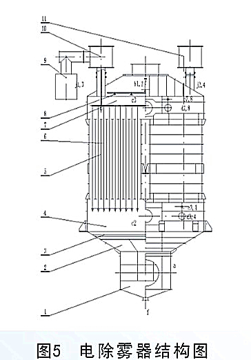
电除雾器结构见图5,材质见表2。
A.主材阳极管板可选聚氯乙烯塑料(PVC)或乙烯基树脂导电玻璃钢(C-FRP),前者结构为圆形,后者为方形。
B.下室内设有气体导流装置和分布装置,使烟气均匀分布在每个阳极管,上室内设有喷淋冲洗装置定期冲洗,以保证除雾效率。
C.塑料电除雾器阴极系统:上不框架为Q235+PVC+PB的复合结构,保证足够的刚度,并具有优良的导电性和耐腐蚀性;阴极线采用高效龙骨芒刺极线,与阳极管匹配,具有较高的除雾效率;下部框架采用PVC栅格制作,可减小气体阻力及阴极系统的摆动;阳极管束分成几组构成圆形结构,之间连接合理,管束组整体性好、牢固可靠。
D.导电玻璃钢电除雾器阴极系统:上部框架为Q235+CFRP+PB的复合结构,保证足够的刚度和优良的导电性、耐腐蚀性;阴极线的钛合金高效放电线,与蜂窝式阳极管匹配,具有更高的除雾效率;下部框架采用C-FRP栅格制作,可减小气体阻力及阴极系统的摆动;阳极管采用等静压整体成型,整体脱模工艺,使其具有较高的精度和刚度;管束之间用索具连续,从而保证整体管束组的整体性及牢固可靠。
性能指标
二级电除雾器出口烟气指标保证值:
A.含尘:≤5 mg/N3m
B.含酸:≤5 mg/N3m
C.型号:WSDW-(阳极管束数)
D.PVE阳极管:¢270×10mm,L=4000mm;
C-FRP阳极管:正六边形,L=4500mm;
内切圆可选¢360或¢300mm
E.二级总除雾效率:≤99.5%
其它如阳极管束数、截面面积、沉淀面积、高压电源、绝缘箱加热器容量、喷淋水量、设计压力和温度等指标按实设计和取值。
设备特性
A.结构合理。阳极管束组合紧密,连接合理,结构稳定,截面积大。
B.运行稳定。气体导流均匀,阴极导电性好,喷淋冲洗有效。
C.耐腐蚀性好。主体材料为聚氯乙烯或乙烯基树脂导电玻璃钢,具有良好的防腐性能,正常使用寿命大于15年。
D.除雾效率高。采用高效阴极线,除雾效率在99.5%以上,出口酸雾平均低于5mg/Nm3
E.投资低。由于采用塑料或导电玻璃钢材料和新型结构,使设备体积小、重量轻,与同等规模铅电除雾器相比,可节约25%的投资。

